(原标题:炸锅!A股实控人竟是“黑老大”!法院判了:无期徒刑,没收个人全部财产!500亿帝国凉了,股民懵了…)
上市公司实际控制人居然是黑社会老大!这则震惊资本市场的案子终于判了!
禾盛新材(002290)5月31日晚间公告,公司实际控制人张伟已由广东省深圳市中级人民法院作出判决:数罪并罚,决定执行无期徒刑,剥夺政治权利终身,并处没收个人全部财产,罚金1217万元。
据悉,张伟涉及的罪名包括:犯组织、领导黑社会性质组织罪、非法吸收公众存款罪等11个罪名。
实控人组织、领导黑社会等11宗罪
法院判了:无期
5月31日晚间,禾盛新材公告,公司实际控制人张伟已由广东省深圳市中级人民法院作出判决。
据公告,张伟因犯组织、领导黑社会性质组织罪、非法吸收公众存款罪、强迫交易罪、故意伤害罪、非法拘禁罪、诈骗罪、敲诈勒索罪、聚众斗殴罪、寻衅滋事罪、容留他人吸毒罪、行贿罪11个罪名,被判无期徒刑,剥夺政治权利终身,并处没收个人全部财产,罚金人民币1217万元(罚金从判决生效之日起三个月内缴纳)。

由公安机关依法继续追缴被告人张伟在本案强迫交易、敲诈勒索、诈骗等犯罪中的违法所得,对相关被害人所造成的直接经济损失,由被告人张伟依法退赔;依法继续追缴被告人张伟因非法吸收公众存款等犯罪的违法所得,以及用于本案“套路贷”犯罪的本金并在依法赔偿被害人损失后予以没收;依法继续追缴被告人张伟组织、领导的黑社会性质组织和被告人张伟本人因黑社会性质组织 犯罪活动所聚敛的财物及其收益。
对于扣押在案被告人张伟的手机等作案工具,依法予以没收;对于已查封、冻结、扣押在案的属于被告人张伟所有的财产,依法全部予以没收。
此外,其他18名组织成员分别被判处有期徒刑二十五年至两年不等刑罚。
禾盛新材表示,张伟未在公司任职,本次实控人被判决事项不会对公司的生产经营产生重大影响。
股价已暴跌120亿
股民懵了:该涨还是该跌?
张伟案是震惊A股的涉黑案。
案发前,张伟参与控股的企业多达上百家,是中科创金融控股集团有限公司(下称“中科创金控集团”)法定代表人、禾盛新材(002290.SZ,原ST中科创)实控人,他还曾当选深圳市第五届、第六届人大代表。
2015年,知名P2P平台“88财富网”的实控人张伟逐步通过协议转让、二级市场交易以及参与定增等多种方式入主上市公司中科新材(今“禾盛新材”),该公司股价在2015年6月15日创下69元的历史新高,最高市值高达137亿元。
2017年2月份,88财富网“爆雷”,公司突然宣布停运,并相继关闭新用户注册和投资功能。2019年4月,深圳警方公告称,88财富网兼中科新材实控人张伟因涉黑被逮捕。此消息一出,中科新材的股价在接下来的一个月里,股价下跌近50%。
截至最新,中科新材(已更名回禾盛新材)的股价报收7.13元,总市值仅剩17亿元,较历史最高市值蒸发了120亿,股价下跌近90%。

根据禾盛新材最新财报显示,截至2021年一季末,深圳市中科创资产管理有限公司仍持有该公司7700多万股,持股比例32%,仍为第一大股东。

如今,实控人被判无期,股民对此的解读分化极端。有股民认为,这是要凉了。但也有不少网友表示,这是利空出尽,甚至认为禾盛新材实控人的股份或被国资接管。


截至一季末,禾盛新材的股东户数近1.2万户。

以黑护商:非法吸收公众存款149亿余元
打造500亿商业帝国
据悉,张伟原籍黑龙江鸡西,早年从军队退伍,后到深圳打工,先后做过公司保安、白酒批发零售商等。从白酒生意中获得第一桶金后,张伟在深圳购买楼宇转手出售逐渐积累资金,2004年起,张伟陆续成立“中科创”字头的一系列公司(中科创集团),并以自己持有或委托他人代持的方式控制上述公司,并介入金融领域,先后涉足融资担保、小额贷款、互联网金融、私募基金。

张伟
2004年,中科创进入担保行业;2008年,中科创转型,开始运营财富管理业务,并推出全新商业模式“财富通”,布局金融创新领域;2011年,中科创继续拓宽财富管理业务,瞄准中国高净值人群,打造中国财富俱乐部且引进家族财富管理理念,“并将文化与圈子的概念融入金融”;2013年10月,中科创又开始进军互联网金融,上线网贷平台“88财富网”。
公开资料介绍,中科创集团总部位于深圳,曾为超过100家上市公司提供金融服务,累计管理资产逾500亿元。此前,中科创金融曾多次参加博鳌亚洲论坛,还是博鳌亚洲论坛2017年年会金牌级合作伙伴之一。
在中科创集团的大事记中也是满眼“辉煌”,张伟曾被评为“深商风云人物”,中科创集团还被宣称为“中国互联网金融第一股”。另外,张伟曾计划10年内买下5架空客飞机,以进一步服务高净值人群,2015年,花费5亿元购买的第一架空客A319公务飞机到位。
在张伟的黄金时代,张伟和他的“中科创系”,一面发展互金平台,一面在二级市场频频出手。中科创曾经举牌新黄浦、天目药业、中科新材等上市公司。
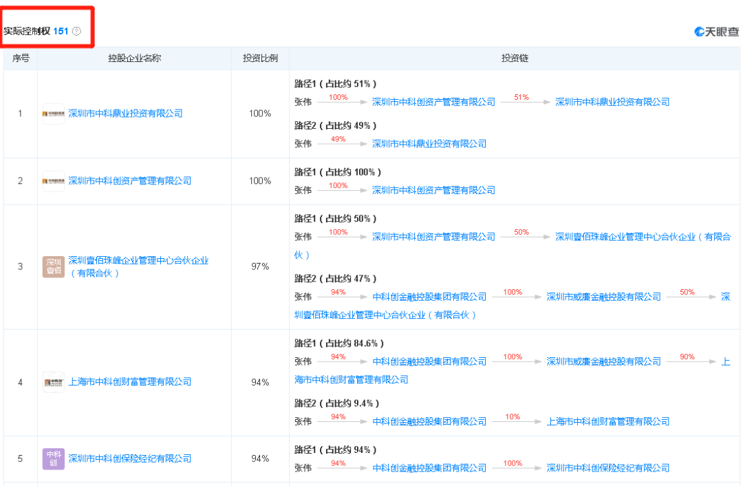
张伟长于资本运作,天眼查显示,张伟拥有实际控制权的企业超150家,发展为庞大的财富集团。其中包括上市公司禾盛新材。

在财富积累过程中,张伟通过笼络乡邻、招揽小弟、聘用员工等方式,逐步形成以其为组织者、领导者,以韩作纪、王栋为积极参加者,加上众多下属人员参加的黑社会性质组织。
经法院查明,张伟以公司或者个人名义通过“88财富网”、私募基金、向社会借款等方式,2011年至2017年非法吸收公众存款149亿元。“张伟向出借人承诺保本付息,变相吸收公众存款,借的款既为其他人借,也为自己借。”据合议庭法官介绍,张伟将一部分非法所得用于投资,赚取担保费;另一部分再出借他人,收取高额“砍头息”,并多以“套路贷”的方式攫取巨额利益,造成很多借款人无力偿还。在催债环节,张伟及其手下就实施过强迫交易、故意伤害、非法拘禁、敲诈勒索、聚众斗殴、寻衅滋事、虚假诉讼、非法侵入住宅等一系列违法犯罪活动。
特别是中科创集团2013年10月年开始上线运营的“88财富网”网络融资平台,向社会公众营销由该平台发行的承诺保本付息理财产品,甚至郎朗也签约为它代言。

一时间,中科创集团风头无两,财富滚滚而来。
直至2018年,张伟因涉黑被调查。
2019年4月11日,深圳警方发布公告称,近日,打掉了以深圳中科创金融控股集团有限公司张伟为首的涉黑犯罪集团。经检察机关批准,张伟、韩作纪、王栋等44名犯罪嫌疑人被逮捕。

张伟在深圳十余年的为为非作歹才得以制止。
十几年间,以张伟为首的涉黑组织“以商养黑”“以黑护商”,非法攫取巨额财富,大量借款人深受其害。
当然,这些文字背后都是一个个受迫害的人。据深圳特区报报道,在法院查明的犯罪事实中,有4人因所在公司遭张伟“马仔”滋扰而被迫辞职;有7人直接被暴力殴打,其中黄某泉因害怕而不敢验伤;有5人因遭到张伟犯罪集团侵害而导致离婚;有6人房产被侵占;有7人受到精神强制……此外,还有4人被迫害,导致企业破产,自身生活陷入严重困顿。
直到最新,张伟被判无期徒刑。
深圳市委原副书记给充当“保护伞”
张伟如此嚣张跋扈,和他背后的“保护伞”:深圳市委前副书记、前政法委书记李华楠,不无关系。据调查,李华楠长期给张伟充当“保护伞”。
2018年10月9日,广东省纪委监委公开发布消息:李华楠涉嫌严重违纪违法,接受纪律审查和监察调查。
在李华楠被公布落马之前,张伟已被“盯上”。据张伟妻子王涛在网上公开发布的文章显示,2018年9月22日,张伟在深圳出关准备前往中国香港和家人过节时被拦下,原因是“涉嫌行贿,不能出境”。2018年10月25日晚,张伟被纪委监察委人士带走,次日被监委留置。
张伟案很快升级。2019年1月23日,他被刑事拘留,其从广东省纪委惠州工作点转移至深圳接受警方调查,理由是涉及涉黑专案。
2020年9月22日,中央纪委国家监委网站公开曝光六起涉黑涉恶腐败和“保护伞”典型案例,其中之一是李华楠为张伟涉黑组织充当“保护伞”问题。
中央纪委国家监委称,2010年以来,以张伟为首的涉黑组织利用金融平台利诱受害人借款或融资,通过迫使债务人违约、虚假诉讼等手段获得债务人或担保人的不动产,使用软硬暴力非法攫取巨额财富。李华楠明知张伟有涉黑背景,利用担任市人大常委会副主任,市中级人民法院院长,市委副书记、政法委书记等职务便利,收受贿赂,帮助张伟当选深圳市第五届人大代表,并介绍张伟认识法院和公安系统干部,为其赢得虚假诉讼提供便利。2016年,李华楠向相关负责人打招呼,使深圳市公安局对张伟涉嫌非法吸收公众存款案件作不立案处理。李华楠同时还存在其他违纪违法问题,受到开除党籍、开除公职处分,并被司法机关依法追究刑事责任。其他相关人员均受到相应处理。
据深圳市检察院控,2010年春节至2014年中秋节期间,张伟多次送给李华楠现金共计65万港元(折合人民币52万元)和价值10万元的购物卡。
2020年7月31日,广州市中级人民法院公开宣判深圳市委原副书记、政法委原书记李华楠受贿案,李华楠为他人在企业经营、项目建设、案件诉讼、职务调整等事项上谋取利益,收受财物共计折合2600余万元、1000余万港元,以受贿罪判处李华楠有期徒刑15年,并处罚金人民币300万元;追缴全部违法所得。
声明:证券时报力求信息真实、准确,文章提及内容仅供参考,不构成实质性投资建议,据此操作风险自担。
证券时报APP
微信公众号