.png)

《赘婿》红了!不仅是剧集热播,剧中“拼刀刀”、“苏宁毅购”的梗也一道出圈。
就连拼多多、苏宁易购这样的商业巨头也主动来接梗,注册商标都已经安排上了!


拼多多注册拼刀刀
《赘婿》是一部男主穿越剧,由去年大火的《庆余年》原班人马打造,郭麒麟与宋轶主演。目前豆瓣已有超过11万人为该剧打分,评分暂为7.1分。而根据豆瓣介绍,该剧集讲述了苏氏布商家的赘婿宁毅,帮助妻子苏檀儿一起搞事业,玩转武朝商界,成为江宁首富的故事。
实际上,在玩梗出圈前,这部剧就已经未播先“火”,一直走在舆论的浪尖上。先是开播前,原小说作者因为不当言论引发部分女性观众抵制,开播后,又因为剧中“男德班”的设定引发部分男性观众的不满。

“拼刀刀”的梗出现在第三集,苏檀儿(女主)的布庄开业在即,但被人动了手脚,布匹几乎全部被毁,没法立即交货,男主角宁毅为帮助妻子卖布,整出了一个策划,还取名叫——“拼刀刀”。
他把店里的桌子都拆了做成转盘,让顾客们邀请好友助力,最多可邀请5人,向转盘投掷剪刀,砍中的价格可以累加,帮助减价。这种“新型社交商业玩法”,一下子化解了女主新店开业的供货危机,还拉来了更多客户,大赚一笔。
在线观众纷纷表示很眼熟,拼刀刀可还行,这不是古代版“拼多多”么。
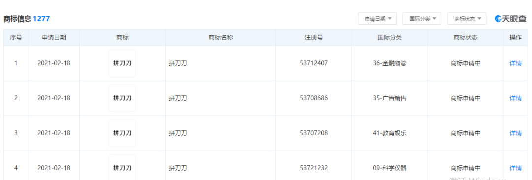
互联网大厂反应很快。据天眼查显示,2月18日,拼多多的运营公司上海寻梦信息技术有限公司已经为“拼刀刀”申请了多个商标,国际分类涉及金融物管、广告销售、教育娱乐和科学仪器。目前商标状态还显示为申请中。

另一个令大家会心的出圈梗是“苏宁毅购”。剧中苏檀儿和宁毅这对CP之后又弄了一个“线上看货、线下送货”的卖布新模式,名曰—“苏宁毅购“。
苏宁易购方面也主动接梗。2月21日,苏宁易购官网带上#苏宁毅购是真的#的微博标签,发文称“上苏宁易购,搜苏宁毅购,逛苏宁易购”。苏宁专门设置了“苏宁毅购”的专场购买活动页面。该专场包含会员福利、苏氏布行、竹记饭庄、手机数码、休闲零食、家装爆款等多重品类。另有媒体报道,苏宁易购已经提交了“苏宁毅购”的商标申请,该商标隶属第35类,广告销售类。
《赘婿》背后阅文集团IP爆款频出
《赘婿》实际是由人气男频爽文改编,原著作者为阅文集团旗下起点中文网作家“愤怒的香蕉”(笔名)。该据则主要由腾讯系阅文、新丽传媒、腾讯影业三方出品。
近期另一热播剧《斗罗大陆》也是由阅文集团IP改编,由旗下新丽传媒进行的影视制作。
值得一提的是,新丽传媒还是春节档爆款电影《你好,李焕英》的联合出品方。该片是贾玲的导演处女作,主打亲情喜剧概念。《你好,李焕英》目前上映13天,最新票房已经超过43亿元。当前总票房已跻身中国电影票房总榜第五名。
阅文集团为腾讯集团旗下的IP内容平台,成立于2015年3月,由腾讯文学与原盛大文学整合而成,旗下囊括 QQ 阅读、起点中文网、潇湘书院等一众业绩知名网文平台,规模上几乎垄断了国内网络文学与数字阅读的半壁江山。
然而,自2017年11月上市后,阅文集团业绩增速放缓,IP付费阅读面临行业瓶颈,加之并购新丽传媒后IP影视化未能贡献预期业绩等,因此即便阅文集团拥有庞大的作品储备,输出了《庆余年》、《鬼吹灯》、《盗墓笔记》、《琅琊榜》等知名 IP 改编代表作,公司股价仍一落千丈,最低曾跌至22.95港元/股。

不过,自2020年以来,背靠腾讯的阅文集团逐渐开始获得腾讯的更多资源支持。特别是,2020年4月27日阅文集团高层洗牌,以程武为代表的腾讯高层进入阅文核心管理层,并着手构建腾讯新文创生态。此后该公司市场表现回温,并且半年时间实现股价翻倍。
近一段时间,阅文集团股价也呈现出波动显著。该股节后(2月16日)一度涨至阶段新高95.75港元,此后又震荡下跌,现已回落至75.5港元,最新市值767亿港元。而在节前,公司曾因为携手腾讯、七猫成为中文在线战略投资方,股价在今年1月底出现过一波大涨。
声明:证券时报力求信息真实、准确,文章提及内容仅供参考,不构成实质性投资建议,据此操作风险自担。
证券时报APP
微信公众号