.png)

A股监狱风云又添一员。
1月19日晚间,ST远程公告表示,公司原实际控制人夏建统已因涉嫌背信损害上市公司利益罪被批准逮捕。
据悉,夏建统曾被誉为天才少年,并一手打造“睿康系”,坐拥三家上市公司。
ST远程原实际控制人被批准逮捕
1月19日,ST远程公告表示,2020年2月27日,远程电缆股份有限公司(以下简称“公司”)就公司原董事长夏建军、原实际控制人夏建统涉嫌背信损害上市公司利益罪向无锡公安机关报案。近日,公司自无锡公安机关获悉,公司原实际控制人夏建统已因涉嫌背信损害上市公司利益罪被批准逮捕。

目前,公司日常经营运作正常,公司原实际控制人夏建统被批准逮捕事项不会影响公司正常生产经营活动的开展。公司管理层将按照既定的发展战略,持续推进各项生产经营活动。公司将持续关注上述事项的进展情况,并严格按照有关法律、法规的规定和要求,及时履行信息披露义务。
夏建统身陷合同纠纷案
被纳入失信被执行人名单
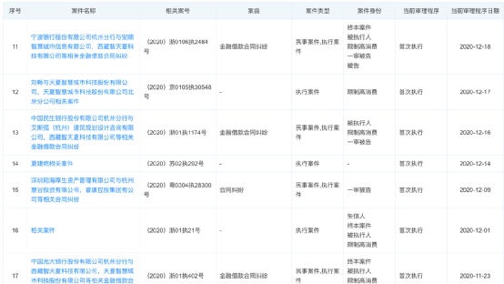
据中国裁判文书网显示,根据(2020)浙0106执2484号之一的执行裁定书显示,申请执行人宁波银行股份有限公司杭州分行与被执行人天夏智慧城市科技股份有限公司、西藏智天夏科技有限公司、夏建统金融借款合同纠纷一案中,执行标的为天夏智慧城市科技股份有限公司、西藏智天夏科技有限公司、夏建统支付宁波银行股份有限公司杭州分行案款49539226.49元及迟延履行利息。期满,被执行人未按执行通知书履行法律文书所确定的义务。

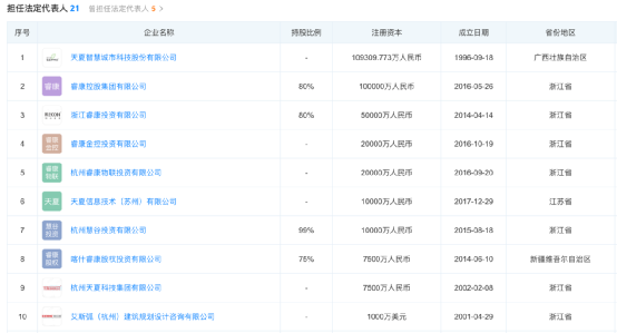
执行中,杭州市西湖区人民法院对被执行人财产情况进行查询,发现其名下无车辆和有价证券。天夏智慧城市科技股份有限公司、夏建统名下银行账户存款被多家法院冻结,本院为轮候冻结。本院轮候查封夏建统名下位于衢州市××幢××单元××室不动产,轮候冻结夏建统持有的睿康控股集团有限公司80%的股权、浙江睿康投资有限公司80%的股权、杭州慧谷投资有限公司99%的股权、西藏睿康投资有限公司75%的股权;轮候冻结天夏智慧城市科技股份有限公司持有的杭州天夏科技有限公司100%的股权、天夏信息技术(苏州)有限公司100%的股权、北京中科睿德信息技术股权投资基金(有限公司)69%的股权、天夏智慧园区商业运营发展(包头)有限公司100%的股权。同时将其纳入失信被执行人名单。
除此之外,夏建统还身陷票据追索权纠纷一案中。天眼查数据显示,目前夏建统的司法风险多达上百起,多涉及民间借贷纠纷、合同纠纷、金融借款合同纠纷等。

原董事长夏建军曾借款2000万未还
被司法拘留15天
然而,这件事还要追溯至几年前的一件民事纠纷案。中国裁判文书网显示,关于杭州力卓金属材料有限公司(以下简称为“力卓公司”)与夏建军、远程电缆股份有限公司民间借贷纠纷一案,2020年11月30日公布的民事判决书显示:
2017年11月1日,力卓公司与夏建军、远程电缆(保证人)、案外人李振军(保证人)签订了《合同》,合同主要约定:夏建军因经营需要,向力卓公司借款,款项由力卓公司汇入夏建军指定的账户上。同时,双方确认在借款期限内,夏建军向甲方的最高借款金额余额不得超过人民币2000万元整,借款利息按3%/月计,乙方应按月结清当月产生的利息。此外,合同还确定了其他事项。合同签订后,力卓公司于2018年1月10日将2000万元汇入被告夏建军指定账户。

《合同》签订时,借款人夏建军为远程电缆的股东、法定代表人,远程电缆为夏建军提供担保必须经股东大会决议。远程电缆为被告夏建军提供担保未经股东大会决议,力卓公司也未提供其尽到形式审查义务的证据。据此,力卓公司对夏建军的越权代表行为不构成善意,被告远程电缆无需承担保证责任。
因此,根据相关规定,杭州市拱墅区人民法院判决如下:夏建军应于判决生效之日起10日内归还原告杭州力卓金属材料有限公司借款本金2000万元并支付利息318.25万元,合计2318.25万元。同时支付杭州力卓金属材料有限公司律师费2万元等。
不过,夏建军对此判决并没有及时执行。2021年1月5日,杭州市拱墅区人民法院公布的执行裁定书显示,上述执行立案后,本院于2020年7月18日向被执行人夏建军发出执行通知书、报告财产令和被执行人须知,要求夏建军履行生效法律文书确定的义务并报告财产情况,被执行人夏建军逾期未履行且未报告财产情况。不过,截至2020年12月24日,本案执行标的已执行到位0元。暂未发现被执行人夏建军有其他可供执行的财产。
鉴于被执行人夏建军拒不履行又未报告财产,本院已对被执行人夏建军作出司法拘留15天的决定。同时已对被执行人夏建军采取了限制高消费、纳入失信被执行人名单的执行措施。

据悉,夏建军为夏建统的哥哥。
ST远程多次收监管函
夏建军遭深交所通报批评
2020年8月26日,ST远程发布关于收到《案件受理通知书》的公告,表示公司原控股股东、原实际控制人及其关联方在未经董事会和股东大会批准的情况下,为原实控人及关联方的融资行为签订借款/担保协议。上述行为给公司造成了极大损失。公司将采用一切法律手段,向相关责任人展开追偿,尽最大努力挽回公司损失,维护公司和全体股东的合法权益。同时指出,目前,公司尚有部分违规担保及追偿案件正在审理中。
在一桩桩诉讼事项中,ST远程也受到了监管方面的关注,多次受罚。
2020年8月19日,深交所向ST远程控股股东及实控人秦商文化、夏建统、夏建军下发纪律处分事先告知书,因其违反相关法律规定。
2019年6月4日,因滥用停牌权利、信披违规和风险揭示不充分等事项,深交所对公司、时任董事长兼总经理夏建军等相关责任人给予通报批评处分。
夏建统从天才少年到失信人
“睿康系”随之陨落
公开资料显示,夏建统1974年10月出生,浙江衢州人,14岁上大学,19岁赴美国留学,25岁便取得博士学位,海归企业家。不过,目前来看这些光辉已不复存在,诉讼缠身的夏建统早已被列为“老赖”。
据了解,“睿康系”辉煌时期,坐拥三家A股上市公司,将莲花味精更名为莲花健康,把远程电缆改为睿康股份,让索芙特变身天夏智慧;并全资控股英格兰阿斯顿维拉足球俱乐部。
不过近年来的一系列操作,却让夏建统从“神探”跌落。2019年10月17日,北京市三中院对夏建统发布悬赏通告,若提供被执行人夏建统准确行踪线索并由法院成功拘留,将奖励人民币30万元,随后引发网络热议。据了解,该悬赏源于一起涉案金额上亿元的投资纠纷案。

由于夏建统的资金问题已经充分暴露,涉及多项诉讼,已被法院列为失信被执行人,被限制高消费。夏建统目前涉及的司法风险多达上百起,多涉及民间借贷纠纷、合同纠纷、金融借款合同纠纷等。
天眼查数据显示,夏建统目前仍为21家企业的法人,包括天下之水城市科技股份有限公司、睿康控股集团有限公司等。

前三季度净利润同比增长115%
股价较高点已跌去93%
ST远程于2012年8月上市,主要从事电线电缆设计开发、生产、销售与服务的高新技术企业,拥有省级工程技术研究中心,并引进了国外先进的生产和检测设备。
ST远程初始为远程电缆,“睿康系”掌门人夏建统入主后更名为睿康股份。不过随后夏建统退出,秦商集团的李明收购睿康股份原控股股东睿康体育,睿康股份又更名为远程股份。
2019年6月初,因存在未履行审批决策程序对外担保的情形,违规担保余额合计为2.2亿元,占公司2018年度经审计净资产的19.63%,且公司控股股东未在一个月内解决上述违规担保事项,公司股票交易被实行其他风险警示。
近年来,ST远程的经营业绩十分不理想,2016年至2018年归母净利润连续三年下跌,2019年实现营业总收入28亿元,同比下降6.9%;归母净利润扭亏为盈,同比增长102%。

10月26日,ST远程发布2020年第三季度报告称,前三季度公司实现营业收入18.31亿元,同比下降17.35%;实现归属于上市公司股东的净利润1099.65万元,同比增长115.29%;基本每股收益0.02元。
不过,ST远程的股价自2020年9月份以来,便一路下跌,当前股价报2.61元,最新总市值为18.74亿元。不过据其股价高点而言,已经跌去近93%,辉煌时期一去不复返。

声明:证券时报力求信息真实、准确,文章提及内容仅供参考,不构成实质性投资建议,据此操作风险自担。
证券时报APP
微信公众号