今日,#王思聪已退出万达集团董事职务#的消息冲上微博热搜第一。

此前,万达掌舵人王健林曾公开向媒体表态,“王思聪没兴趣接自己的班,管十几万人他觉得太辛苦。"
王思聪卸任的消息一出,不少网友纷纷表示,”我愿意吃这份苦! “ 也有网友汉化喊话聪哥,“巨额资产不要了?”



王思聪卸任万达董事职务 王健林曾表态:他没兴趣接我的班!
天眼查APP显示,8月29日,大连万达集团股份有限公司发生工商变更,王思聪退出董事行列。股东信息显示,目前该公司由大连合兴投资有限公司、王健林共同持股,王健林为公司董事长、法定代表人及实际控制人。


公开资料显示,该公司成立于1988年,注册资本10亿元人民币,登记状态为存续,所属行业为房地产行业,经营范围包括商业地产投资及经营、酒店建设投资及经营、连锁百货投资及经营、电影院线等文化产业投资及经营等。
作为万达的掌舵人,王健林面对业绩承诺的压力可想而知。去年11月底,王健林曾公开讨论对接班人问题,并表示:“我跟思聪探讨过几次,他没兴趣接我的班,管十几万人他觉得太辛苦”。
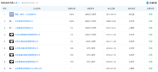
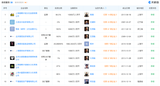
天眼查APP信息显示,目前王思聪关联企业共37家,其中存续状态的有26家,包括上海熊猫互娱文化有限公司、万达产业投资有限公司、大连合兴投资有限公司、珺娱(湖州)文化发展中心、北京普思投资有限公司等,涉及投资管理、科技、娱乐、影视、食品等行业。同时,王思聪任9家公司法定代表人,在16家公司中担任董事长、董事、监事等管理职位,并在24家公司中持有股份,拥有上百家公司的实际控制权。


今年2月刚卸任万达“飞凡网”董事
记者注意到,就在今年2月,王思聪还卸任了上海新飞凡电子商务有限公司董事一职。
2月19日,天眼查数据显示,近日,万达集团旗下的电商平台——飞凡网的运营主体上海新飞凡电子商务有限公司发生工商变更,王思聪卸任董事,前万达老臣曲德君卸任董事长,徐辉卸任董事兼总经理,此外,高茜、高晓军卸任公司监事。与此同时,新增经理、执行董事朱战备,新增监事向丹华。
天眼查股东信息显示,上海新飞凡电子商务有限公司由万达金融的运营主体上海万达网络金融服务有限公司全资控股,公司疑似实际控制人为王健林。
早在2014年11月30日,飞凡网进行战略融资时,投资方中有百度与腾讯的身影。彼时,万达集团持有70%股权,百度、腾讯各持15%股权。2015年3月,飞凡网正式成立,注册资本4.4亿元。
飞凡网在接下来的数年中并没有孵化出有影响力的项目,内部动荡不安,高管连续离职。据观察者网此前报道,2016年,腾讯和百度悄然退出了万达电商实体业务的主体“飞凡网”,只剩万达一家。对于飞凡网的失败,王健林在2017年万达年会上公开批评万达网科总裁曲德君(飞凡电商后来被划到万达网科旗下)。2019年,曲德君也离开了效力了17年之久的万达集团。2017年下半年,万达网科开始逐步裁员,一年后的2018年6月份,万达、腾讯、高朋成立了一家名为上海丙晟科技的新公司,新公司董事长由万达商管集团总裁齐界担任,CEO由腾讯推荐、高朋CEO高峡出任。原飞凡网的部分业务,以及万达网科最后约300名员工集体加入了新公司丙晟科技,飞凡网名存实亡。天眼查显示,如今飞凡网只剩不到50名员工。
万达电影上半年亏损5.81亿元
电影院线等文化产业投资及经营目前仍是万达集团的主营业务之一。
8月28日晚间,万达电影发布半年报,披露上半年实现营业收入49.38亿元,同比下降29.79%;营业利润亏损5.83亿元,同比下降187.72%;归属净利润亏损5.81亿元,同比下降190.98%。

为应对成本压力,万达在表示未来将放缓重资产影院发展速度,仅对于非常优质的项目采用重资产模式;加速推动影院轻资产转型,包括部分新建万达广场内的影院也开始采取轻资产模式合作,在稳步提高市场份额的基础上减少投资成本,提高公司抗风险能力。同时为提升公司整体资产质量和经营效率,公司对下属经营困难的影院进行多轮梳理和评估,计划进一步关闭或转让低效影院。
而关闭低效影院已经不是万达电影的首次操作。据公开数据,2020年,万达新开业影院64家,关停20家经营效益较差的影院;2021年,新开业自营影院61家,关停经营效率较差的影院9家。今年上半年,万达电影新开业直营影院13家,关停经营效益较差的影院4家,新开业轻资产影院15家。
股价方面,自去年2月高点以来,万达电影股价累计跌了50%,已经腰斩。截至发稿,万达电影报11.38元/股,市值254亿元。

声明:证券时报力求信息真实、准确,文章提及内容仅供参考,不构成实质性投资建议,据此操作风险自担。
证券时报APP
微信公众号