(原标题:热搜刷屏!两大顶流网红主播偷逃税被罚9300多万!网友震惊:比明星还能赚!粉丝哭了:三观碎了!)
11月22日早,两大网红主播偷逃税的消息刷屏网络,迅速冲上微博热搜首位。
据浙江省杭州市税务部门,网络主播朱宸慧(微博ID:雪梨Cherie)、林珊珊(微博ID:林珊珊_Sunny)因偷逃税款,将被依法追缴税款、加收滞纳金并处罚款分别计6555.31万元和2767.25万元。

对此,网民纷纷震惊,一方面没想到网红主播如此暴利,另一方面没想到这么赚钱还要偷逃税。
资料显示,雪梨微博粉丝超1500万,淘宝直播粉丝超3000万;林珊珊则微博粉丝超950万,淘宝直播粉丝超1000万。两人影响力不小。值得注意的是,两人今晚还有直播。



雪梨

林珊珊
雪梨和林珊珊偷逃税
合计罚款超9300多万
国家税务总局浙杭州市税务局今早一则新闻刷屏:网络主播朱宸慧(微博ID:雪梨Cherie)、林珊珊(微博ID:林珊珊_Sunny)因偷逃税款,将被依法追缴税款、加收滞纳金并处罚款分别计6555.31万元和2767.25万元。

据悉,前期,浙江省杭州市税务部门通过税收大数据分析,发现朱宸慧(微博ID:雪梨Cherie)、林珊珊(微博ID:林珊珊_Sunny)两名网络主播涉嫌偷逃税款。经查,朱宸慧、林珊珊在2019年至2020年期间,通过在上海、广西、江西等地设立个人独资企业,虚构业务将其取得的个人工资薪金和劳务报酬所得转变为个人独资企业的经营所得,偷逃个人所得税。两人的上述行为违反了相关税收法律法规,扰乱了税收征管秩序。
杭州市税务局稽查局依据《中华人民共和国税收征收管理法》《中华人民共和国个人所得税法》《中华人民共和国行政处罚法》等相关法律法规,对朱宸慧追缴税款、加收滞纳金并拟处1倍罚款共计6555.31万元,对林珊珊追缴税款、加收滞纳金并拟处1倍罚款共计2767.25万元。
日前,杭州市税务局稽查局已依法向朱宸慧、林珊珊下达税务行政处理决定书,并依法履行税务行政处罚告知程序。
大数据分析发现偷漏税
雪梨偷逃税超3000万,林珊珊超1300万
是怎么发现偷逃税款的?杭州市税务局稽查局有关负责人就案件查处情况回答了记者提问。
1.为什么杭州市税务部门要对朱宸慧、林珊珊二人进行检查?
答:我们在开展规范文娱领域税收秩序工作中,通过税收大数据分析发现,朱宸慧、林珊珊两名网络主播涉嫌偷逃税款,于是依法依规对其进行立案并开展全面深入税务稽查。目前,案件事实已经查明并依法进行了处理。
2.朱宸慧、林珊珊二人违法事实有哪些?
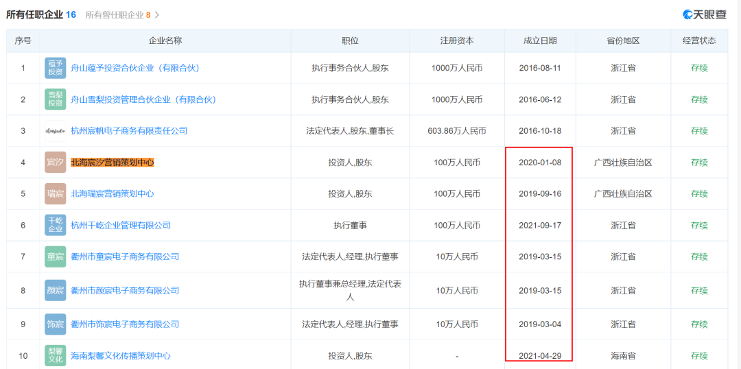
答:朱宸慧在2019年至2020年期间,通过设立北海宸汐营销策划中心、北海瑞宸营销策划中心、上海豆梓麻营销策划中心、上海皇桑营销策划中心、宜春市宜阳新区豆梓麻营销服务中心、宜春市宜阳新区黄桑营销服务中心等个人独资企业,虚构业务把从有关企业取得的个人工资薪金和劳务报酬所得8445.61万元,转换为个人独资企业的经营所得,偷逃个人所得税3036.95万元。
林珊珊在2019年至2020年期间,通过设立北海灵珊营销策划中心、北海珊妮营销策划中心、宜春市宜阳新区玉珊企业管理中心、宜春市宜阳新区蓝珊营销服务中心等个人独资企业,虚构业务把从有关企业取得的个人工资薪金和劳务报酬所得4199.5万元,转换为个人独资企业的经营所得,偷逃个人所得税1311.94万元。
3.为什么对朱宸慧、林珊珊拟处偷税金额1倍的罚款?
答:朱宸慧、林珊珊二人通过设立多家个人独资企业,虚构业务将个人工资薪金和劳务报酬所得转换为个人独资企业的经营所得,偷逃个人所得税,属于税收征管法规定的偷税行为。同时,综合考虑朱宸慧、林珊珊在税务稽查立案后较为配合,在案情查实前主动补缴部分税款,具有主动减轻违法行为危害后果等情节,依据《中华人民共和国税收征收管理法》第六十三条、《中华人民共和国个人所得税法》第二条、《中华人民共和国行政处罚法》第三十二条等规定,对两人拟处偷税金额1倍的罚款。
还有其他网红存在涉嫌偷逃税行为
据通告,检查中,税务部门发现李志强涉嫌策划、实施和帮助朱宸慧、林珊珊偷逃税,并干扰税务机关调查。目前,税务部门已依法对李志强进行立案检查,将依法另行处理。同时,税务部门通过税收大数据分析,还发现其他个别网络主播在文娱领域税收综合治理中自查自纠不到位,存在涉嫌偷逃税行为,正由属地税务机关依法进行稽查。
杭州市税务局有关负责人表示,将按照文娱领域税收综合治理工作的有关要求,进一步加强对文娱领域从业人员的税收管理,促使其提升税法遵从意识,自觉依法纳税。对涉嫌偷逃税的人员,依法依规加大查处力度,营造公平竞争的税收环境,积极推动文娱领域长期规范健康发展。
网友震惊:主播这么暴利!
粉丝心碎:再也不买了
消息一出,迅速冲上微博热搜。网友纷纷表示震惊,高呼网红主播真暴利,希望多查查!
还有的认为赚那么多钱,却连一点社会责任感都没有。

但也有粉丝表示三观碎了,直言以后再也不去雪梨直播间买东西。


双双坐拥超千万粉丝
双十一狂卖31亿
资料显示,雪梨Cherie(原名朱宸慧)在微博粉丝超1500万,淘宝粉丝更是超3300万。


林珊珊则微博粉丝950万,淘宝粉丝则超1000万。


而雪梨与林珊珊均为杭州宸帆电子商务有限责任公司旗下签约网红。宸帆电子商务官网显示,2020年双十一期间,公司总销售规模超31亿元。而早在2019年,雪梨已经是淘宝主播top3。


也有媒体排行榜显示,雪梨是淘宝主播中流量第三大主播。仅次于薇娅、李佳琦。

雪梨是公司实控人
值得注意的是,天眼查显示,雪梨为杭州宸帆电子商务有限责任公司法定代表人、最终受益人。

值得注意的是,该公司今年两度受资本千万美元追捧。3月1日和4月23日,宸帆电商宣布完成千万美元级B轮和B+轮融资。分别由兰馨亚洲、众源资本领投。

而正如税务局所言,雪梨过去两年成立了多个个人独资企业。

与此同时,林珊珊也做了同样的操作。

声明:证券时报力求信息真实、准确,文章提及内容仅供参考,不构成实质性投资建议,据此操作风险自担。
证券时报APP
微信公众号