元宇宙概念太火了!
周一,中青宝再度收获20cm涨停。在过去的5个交易日里,公司股价收获了3个“20cm”涨停,股价一周翻倍。
盘后,中青宝再次发布股价异动公告,称元宇宙是一个巨大的概念和模式,公司尚处于初步探索阶段,触及概念相对较浅。
中青宝5日3涨停,一周涨幅达116%
“元宇宙龙头”中青宝9月13日早盘一路走高,临近午盘封涨停,午后一度打开涨停,尾盘再度封住涨停。这是中青宝在近5个交易日中收获的第3个涨停,累计涨幅达116%。截至9月13日收盘,股价报17.77元/股,市值46.78亿元。

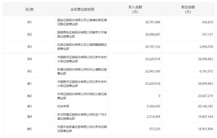
盘后数据显示,国金证券上海梅花路买入3679万元,国泰君安南京太平南路买入3600万元,一机构卖出2014万元。

今日晚间,中青宝再次发布股价异动公告,称元宇宙是一个巨大的概念和模式,公司尚处于初步探索阶段,触及概念相对较浅,对应产品尚在研发中,新游戏上线时间和地区亦受到诸多因素影响。项目实施进度、能否达到公司预计的效果、能否满足未来市场的需求,均存在较大的不确定性。即便以上条件皆满足,公司依然不排除相关产品与元宇宙存在较大差距的可能性。
公告称,针对公司股票交易异常波动的情况,公司董事会对公司、控股股东、实际控制人就相关问题进行了核实,现将有关情况说明如下:
1、公司前期披露的信息不存在需要更正、补充之处;
2、公司目前的生产经营情况正常,内外部经营环境未发生重大变化;
3、公司不存在违反公平信息披露的情形;
4、公司未发现近期公共传媒报道了可能或已经对公司股票交易价格产生较大影响的未公开重大信息;
5、经核查,公司、控股股东和实际控制人不存在关于公司的应披露而未披露的重大事项,也不存在处于筹划阶段的重大事项;
6、经核查,公司控股股东、实际控制人在股票交易异常波动期间不存在买卖公司股票的情形。
7、这已经是中青宝近5日来第二次发布股价异动公告。
9月6日,中青宝官方发文称,将推出虚拟与现实梦幻联动模拟经营类的“元宇宙”游戏《酿酒大师》。据悉,这是一次打破次元壁的尝试,游戏与真实边界开始走向消融。该游戏用户可以在游戏中体验现实,也可以在现实中触碰游戏。这种映射体现在游戏中玩家自己“亲手”酿的酒,可以在线下提酒。
受此消息刺激,中青宝股价开启了一波大幅上涨之路。7日,中青宝股价实现20cm涨停。当日盘后,中青宝首次发布股价异动公告。
元宇宙概念股炒作火爆 深交所火速行动
和中青宝的股价走势一样,元宇宙概念近期表现强势。自9月3日以来,Wind元宇宙指数涨近10%。9月13日,元宇宙概念股再度爆发,截至收盘,整个板块大涨2.88%。
这其中,汤姆猫9月13日收涨17.45%,报4.98元/股,总市值175亿元。近5日,公司股价累计涨近60%,收获了一个20CM涨停。

9月8日,汤姆猫在投资者互动者平台表示,公司现有产品拥有庞大的用户基数,具备元宇宙产品开发的用户基础。同时,公司也积极探索元宇宙产品开发的技术储备。此外,公司坚定看好元宇宙发展方向,已经成立了元宇宙方向的专项工作组,协调境内外的研发团队,对特定品类的产品进行概念开发与立项工作。当日,公司股价实现20cm涨停。
9月8日晚间,汤姆猫收到深交所关注函。交易所要求公司说明现有主营业务、主要产品与元宇宙概念的关联性,公司称“具备元宇宙产品开发用户基础”的原因、依据,是否具备统计数据、市场调研情况等客观证据支持,相关表述是否严谨、合理。
9月10日晚间,汤姆猫回复关注函称,元宇宙是一个非常宏大而遥远的愿景,公司当前的游戏产品离元宇宙形态存在非常遥远的差距。甚至行业内对于元宇宙游戏的定义还未完全明确和统一,未来仍需业内各方携手探索,相关支撑技术、硬件设施等也仍需持续迭代完善。如前所述,公司关于现有产品的迭代规划以及在创新性产品的探索尚处于概念开发和立项工作阶段,可能存在相关技术不够成熟、产品无法落地、不能满足市场需求等风险,产品研发与落地存在较大的不确定性,短期内亦不会对公司效益产生显著贡献。
多家公司回应相关业务
元宇宙概念火爆引发投资者关注,在互动平台向上市公司发问。
水晶光电在互动平台表示,“元宇宙”目前是科技界对未来数字化社交等场景的畅想热点,不断有新的理念及场景融入,业界尚在各自方向探索中;公司一直关注新型显示产业的发展,在衍射波导、反射波导、Birdbath等多种AR、VR显示技术上均有研发布局。
美亚柏科在互动平台上表示,针对元宇宙、VR、网络游戏可能产生的问题以及相关的调查取证需求,公司已有团队开展预研工作,后续将根据市场需求和研究进度适时推出相应产品。
完美世界在互动平台表示,公司擅长的MMORPG与元宇宙的特征一脉相承。公司看好元宇宙的未来前景,正在积极探索现有优势与未来技术结合应用于元宇宙领域的多种可能性,并已在目前的游戏研发中融入元宇宙相关元素,期待给玩家带来更丰富的感受和体验。
金马游乐在互动平台表示,公司已开发出包括VR系列在内的八大系列影视类产品,其中VR动感影院产品已交付并投入使用。
吉比特在互动平台表示,目前公司没有元宇宙概念。公司持续关注云游戏、VR等前沿技术,也会投入资源做一定的尝试。
凯撒文化在互动平台表示,公司在AI、云计算、AR/VR等领域已经有探索和布局。
世纪华通在互动平台表示,公司会从有利于公司发展的方向积极寻求多方面合作。
此外,新国脉在官微表示,云游戏、云VR是公司的重点5G应用业务,公司已成立专项团队,关注和研究包括“元宇宙”、“NFT”等在内的创新领域,不断探索新的业务增长点。
什么是元宇宙?券商如何看?
什么是元宇宙?即一个虚拟时空间的集合, 由一系列的增强现实(AR), 虚拟现实(VR)和互联网(Internet)所组成。元宇宙被认为是互联网的下一个阶段,是AR,VR,3D等技术支持的虚拟现实的网络世界。
中信证券认为,元宇宙相关话题快速破圈,市场关注度极高,分歧与共识并存。终极的元宇宙联通物理世界和数字世界,将成为20年之后人类的生活方式,重塑数字经济体系。元宇宙将大量离散的单点创新聚合形成新物种,带来长期超越想象的潜力和机会。
中信证券表示,未来3-5年,元宇宙将进入雏形探索期,VR/AR、NFT、AI、云、PUGC游戏平台、数字人、数字孪生城市等领域渐进式技术突破和商业模式创新将层出不穷。中长期看,元宇宙的投资机会包括:GPU、3D图形引擎、云计算和IDC、高速无线通信、互联网和游戏公司平台、数字孪生城市、产业元宇宙、太阳能等可持续能源等。
中信证券还表示,当前时间点,很难给出元宇宙的短期受益投资标的,但中长期,看好由此带来的相关领域投资机会,如:英伟达、Epic、Unity、特斯拉、腾讯、字节跳动、米哈游、Facebook、苹果、微软、亚马逊、谷歌、阿里巴巴、Roblox、百度、小米等公司。同时,也注意到,在一级市场上,还有更多年轻公司在相关领域进行创新和尝试,这些公司亦可能在未来登陆资本市场,带来投资机会。
声明:证券时报力求信息真实、准确,文章提及内容仅供参考,不构成实质性投资建议,据此操作风险自担。
证券时报APP
微信公众号