中国基金报记者 王建蔷
一家已立案的P2P平台有最新进展。
据福田警察微信公众号消息,9月8日,深圳市公安局福田分局通报了对两起涉嫌非法吸收公众存款案立案侦查的情况。
据通报, “大麦理财”平台涉嫌非法吸收公众存款案,平台出借人待偿本金1.97亿元人民币,涉及人数3055人。日前,警方对该平台关联公司一涉案犯罪嫌疑人刘某采取网上追逃的措施。
待偿本金1.97亿
对1人采取网上追逃措施
深圳市公安局福田分局通报称,警方加大对深圳大麦理财互联网金融服务有限公司(“大麦理财”平台)涉嫌非法吸收公众存款罪立案侦查力度,全力做好追赃挽损工作,保护群众合法利益。
警方于2021年1月27日将该案移送至深圳市福田区人民检察院审查起诉。值得一提的是,2021年8月20日,警方对该平台关联公司一涉案犯罪嫌疑人刘某采取网上追逃的措施。
同时,经会计师事务所核对,平台出借人待偿本金1.97亿元人民币,涉及人数3055人。至今已冻结涉案资金61.8万元人民币,专案账户回款资金131.5万元人民币。
早在今年7月21日,深圳市公安局福田分局通报显示,警方于2020年6月1日对深圳大麦理财互联网金融服务有限公司(“大麦理财”平台)涉嫌非法吸收公众存款罪立案侦查。
根据警方通报,公司负责人谷某广、刘某、担保方查某等3人被采取刑事拘留强制措施。警方告诫本案非法吸收公众存款行为人(包括股东、高管、业务员、业务辅助人员及其他为非法吸收公众存款提供帮助的人员)。
同时,限期在9月30日前将在大麦理财或关联企业服务期间收取的代理费、好处费、佣金、返点费及提成费等非法所得退缴至指定账户。相关借款人应依法履行还款义务,及时归还借款本息。
大麦理财成立于2014年,是较早成立的网络借贷信息中介服务平台之一。2019年12月,大麦理财曾经发布良性退出公告,宣布退出P2P行业。
成立至今,大麦理财累计向68266人非法募集29.84亿元人民币。警方现已依法调取475个账户流水,并聘请司法审计公司对涉案公司资金进行全面审计,追查资产去向。

长城证券全资子公司入股
曾欲美国上市
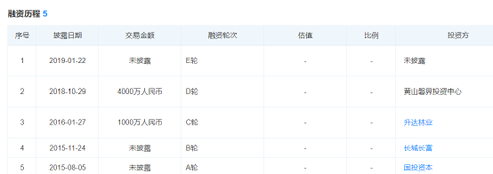
从股权结构来看,大麦理财是一家国资背景的理财平台,是由长城长富注资打造的国资理财平台。天眼查信息显示,大麦理财注册资本3000万元,法人为谷传广,已先后获得长城长富(国资背景)和(上市公司背景)等战略投资,成为P2P行业第6家完成C轮融资的企业。
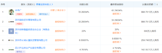
具体而言,谷传广持股33.29%、深圳国投资本管理有限公司持股33.29%、深圳创新稳盈投资合伙企业持股20%、深圳市长城长富投资管理有限公司持股8.658%、四川升达林业产业股份有限公司持股4.7619%。股权穿透后,谷传广的间接持股比例达43.29%。

其中,深圳市长城长富是长城证券全资子公司,2015年11月,长城长富对大麦理财完成了B轮注资。
长城证券是经中国人民银行批准,在原深圳长城证券部和海南汇通国际信托投资公司所属证券机构合并的基础上组建而成的证券公司。目前,华能资本服务有限公司为长城证券第一大股东,实际控制人为中国华能集团有限公司。
深圳国投资本是专门从事基金管理、风险投资、房地产金融、经济信息咨询服务等综合性投资业务的专业机构,2015年8月,深圳国投资本对大麦理财完成了A轮注资。
大麦理财也曾有过高光时刻。
2015年11月3日,大麦理财荣获2015中国金融风云榜“年度互联网金融十佳平台”。2015年11月8日,大麦理财荣获2015中国互联网金融品牌峰会“2015投资者信赖的互联网金融品牌”。
2018年10月,大麦理财确定D轮融资并启动美股上市计划。2015年11月3日,荣获2015中国金融风云榜“年度互联网金融十佳平台”。
据媒体报道显示,2018年10月27日,大麦理财在深圳举行战略发布会,宣布确定D轮融资,投资方为黄山磐界投资中心;同时大麦理财还宣布正式启动纳斯达克上市计划。
大麦理财CEO刘超、执行董事谷传广,D轮投资方黄山磐界投资中心、上市合作机构美国投行乔石资本、上市辅导机构艾瑞咨询管理有限公司的相关人员共同出席了发布会。

平台累计交易额49.7亿元
大麦理财平台运营数据显示,截至7月22日,大麦理财已运营5年285天。
截至目前,平台累计交易额49.7亿元,累计出借人数和累计借贷人数分别为68333人和3396人,借贷待还余额2.75亿元,待兑付利息1331万元,逾期90天(含)以下金额(元)为1.13亿元,逾期90天以上金额8914万元。

2019年6月,大麦理财出现逾期。其官网上最后一期运营月报发布于2019年11月18日,同年12月22日,大麦理财发布良性退出公告。
2020年7月6日,大麦理财在官网发布了2020年6月良退工作情况公告。
天眼查显示,截至目前,升达林业共有6条历史失信被执行人信息,55条历史被执行人信息。该公司2018年度、2019年度及2020年第一季度的扣除非经常性损益后的净利润分别为-1.77亿元、-12.48亿元和-3096.43万元。
声明:证券时报力求信息真实、准确,文章提及内容仅供参考,不构成实质性投资建议,据此操作风险自担。
证券时报APP
微信公众号