.png)

聚合支付企业须承诺“四不”:“不从事收单核心业务”、“不进行二次清算”、“不为违法违规活动提供服务”以及“不能存在其他违法违规经营业务行为”。
受访人士指出,对聚合支付机构的要求无疑进一步提高了整个行业的监管合规程度,可以更好地避免聚合支付机构进行一些其经营范围之外的业务,进一步避免可能出现的问题和风险。
聚合支付备案机构扩容!
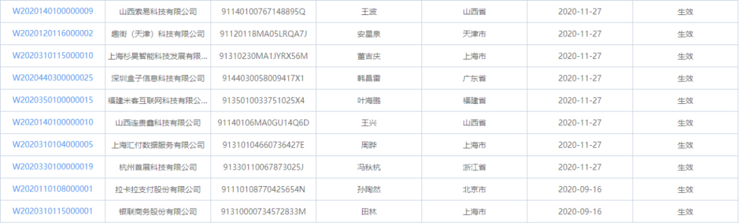
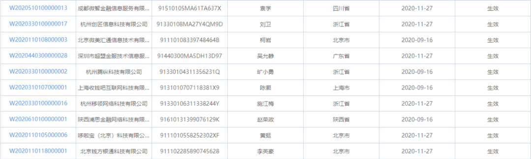
中国支付清算协会收单外包服务机构备案系统近日更新通过备案的收单外包机构名单,银盛支付、盒子信息、汇付数据等34家机构“聚合支付技术服务”通过。
今年8月底,中国支付清算协会发布《收单外包服务机构备案管理办法(试行)》(下称《办法》),包括聚合支付在内的收单外包服务开启备案制。随后,中国支付清算协会发布《关于收单外包服务机构提交《承诺书》的通知》(下称《通知》),聚合支付企业需承诺不从事收单核心业务、不进行“二清”。
“备案是聚合支付行业的必然趋势,对于行业而言,备案制可以进一步对企业的相关资质和展业行为进行规范,预计在将来也会成为聚合支付行业的准入门槛。”支付行业资深分析师王蓬博在接受《国际金融报》记者采访时表示。
备案聚合支付机构达45家
中国支付清算协会收单外包服务机构备案系统显示,近日新增银盛支付、合利宝、即富电子、随行付、威富通、盒子信息、汇付数据、哆啦宝、首展科技等34家聚合支付技术服务类型机构。




《国际金融报》记者通过中国支付清算协会收单外包服务机构备案系统获悉,9月16日已有11家机构获得了“聚合支付技术服务”备案,分别是:拉卡拉支付股份有限公司、银联商务股份有限公司、北京微美汇通信息技术有限公司、杭州腾纵科技有限公司、上海收钱吧互联网科技有限公司、陕西浦思金融网络科技有限公司、福州四九八网络科技有限公司、长沙卡友信息服务股份有限公司、网联商务有限公司、你好现在(北京)科技股份有限公司、武汉利楚商务服务有限公司。
中国支付清算协会今年8月底发布的《办法》明确收单外包服务机构规定期限内完成备案,未在规定期限内完成备案的外包机构,收单机构应有序终止收单业务合作。
具体来看,《办法》涵盖了收单外包服务机构的定义、范围、申请备案的条件、备案工作流程和取消备案情形等内容。
一是明确了外包机构的定义。收单外包服务机构是指经市场监督管理机构或国家有权机关批准成立,接受收单机构委托,承办收单非核心业务并提供相应服务的机构。
二是设定了外包服务机构申请备案的基本条件,包括合法设立、不在外包服务机构黑名单内以及遵守监管和协会的管理要求等。
三是明确了外包服务机构备案工作流程,包括申请、审核和公示等主要环节。
四是明确了外包服务机构申请备案的时限要求。
五是规定了协会取消外包服务机构备案的情形。
对于申请备案业务类型包含“聚合支付技术服务”的外包机构,《办法》规定,上述机构还应提供客户信息安全管理制度影印件,以及与系统安全、信息安全有关的检测报告或认证证书,包括但不限于等保二级(含)以上、ICP经营许可等,或其他经国家安全部门检测认证后出具的信息安全方面的证明材料。
聚合支付企业须承诺“四不”
支付协会近日发布的《通知》要求,已公示或已提交备案申请,且备案业务类型包含“聚合支付技术服务”的外包机构,应填写《承诺书》并加盖单位公章后,将电子扫描件发送至支付协会邮箱。
而尚未提交备案申请或备案申请被退回,且备案业务类型包含“聚合支付技术服务”的外包机构,应通过收单外包服务机构备案系统“备案须知-模板下载”下载并填写《承诺书》,加盖单位公章后与聚合支付技术服务检测认证材料一并上传备案系统。
《承诺书》样例显示,已(拟)备案的聚合支付公司需承诺:“不从事收单核心业务”、“不进行二次清算”、“不为违法违规活动提供服务”以及“不能存在其他违法违规经营业务行为”。
具体来看,聚合支付公司需承诺不得出现未获得银行卡收单业务、网络支付业务许可从事特约商户资质审核、受理协议签订、收单业务交易处理、资金结算、风险监测、受理终端主密钥生成和管理、差错和争议处理等收单核心业务。
此外,聚合支付公司需承诺不以平台对接或“大商户”模式接入持证机构,留存商户结算资金,并自行开展商户资金清算;不为电信诈骗、网络赌博、跨境赌博等违法违规活动提供服务以及不从事其他违法违规经营业务行为。
如发生上述违法违规行为,聚合支付公司自愿承担相关法律责任,并接受中国支付清算协会的自律惩戒措施,包括取消备案资格并在协会网站进行通报等。
聚合支付进入备案制时代
“外包服务商对支付行业的发展曾经起到了重要贡献,特别是在移动支付码牌布设初期起到了至关重要的作用。但随着时间的推移,外包服务商行业缺乏统一管理的弊端日渐显露,线下真实商户越来越重要的今天,外包服务商的话语权越来越重,直接挤压了第三方支付线下收单机构的盈利空间,且伴随着套现和洗钱的多发,外包服务商的管理已经箭在弦上。”王蓬博分析称,《办法》施行后,预计外包服务商未来的行业洗牌将加速,同时和第三方支付机构之间的利益点也将更加平衡。
零壹研究院特邀分析师任俊东对《国际金融报》记者指出,随着科技与金融的融合程度不断加深,类似聚合支付这类与金融机构在交易、数据、营销等金融业务层面有深度合作的外包服务机构,必然会受到相关金融监管。
“外包服务机构备案管理不仅降低了收单外包机构接受有效管理的准入门槛,还有利于加快收单外包市场优胜劣汰。”任俊东称,通过备案的优质外包服务商将受到更多收单机构青睐,违法违规外包服务机构则会被拉入黑名单,逐步退出收单服务市场。
任俊东判断,随着强监管时代的到来,收单外包市场将从野蛮生长到有序发展,企业的淘汰速度会越来越快,合规化经营、精细化管理、专业化服务、打造品牌化的外包收单企业可能会率先迎来蜕变。
王蓬博表示,《通知》对聚合支付机构的要求无疑进一步提高了整个行业的监管合规程度,可以更好地避免聚合支付机构进行一些其经营范围之外的业务,进一步避免可能出现的问题和风险。
王蓬博认为,备案是聚合支付行业的必然趋势,对于行业而言,备案制可以进一步对企业的相关资质和展业行为进行规范,提高行业的合规水平,更好地保障消费者的相关权益。尽管备案可能会对部分企业的展业带来一定的限制,但是总体来看备案依旧利大于弊。
“聚合支付备案与第三方支付牌照还是有着本质的区别,但是从目前监管的态度来看,以后进行聚合支付展业也需要相关的资质,因此,预计备案在将来也会成为聚合支付行业必需的准入门槛。”王蓬博指出。
声明:证券时报力求信息真实、准确,文章提及内容仅供参考,不构成实质性投资建议,据此操作风险自担。
证券时报APP
微信公众号