.png)

又一个南京富豪被抓了……
11月17日晚间,扬州市公安局邗江分局通告称,江苏福信财富资产管理有限公司(以下简称福信公司)以高额收益为诱饵,向社会不特定公众吸收资金,涉嫌非法吸收公众存款犯罪。
目前,福信公司实控人杨宗义已被南京市公安机关采取刑事强制措施。

此前,南京已有多位富翁爆雷。2018年,宏图三胞的袁亚非爆雷,同年江苏金盛集团的王华持有的所有金盛股权被江苏省高院冻结……
曾经40亿身家
集团年销售853亿
据了解,杨宗义为南京大型民企福中集团创始人,现任福中集团董事局主席,同时担任江苏省总商会副会长等职务。
公开资料显示,2019年8月,福中集团被全国工商联评为中国民营企业500强第72位,年销售额超过853亿元;2019年12月,南京市企业100强榜单发布,福中集团位列第5。


在2015-2018年的胡润百富榜中,杨宗义都以40亿左右的身家上榜,

但是到了2019年,杨宗义已经从该富豪榜上消失不见。

天眼查信息显示,福中集团从2019年8月起,就被南京、天津等多地的地方法院列为失信人。

中国裁判文书网上公示了数十份福中集团劳动报酬系列案件的执行裁定书。
其中一份时间为9月30日的裁定书显示,被执行人南京福中高科技产业园有限公司的法定代表人为杨宗义,该公司名下无车辆等财产可供执行。
对此,法院冻结了被执行人名下的银行账户、互联网银行账户,并扣划了被执行人名下银行存款10万元,同时查封了被执行人名下位于玄武区玄武大道699-10号201室的不动产,并对被执行人法定代表人采取了司法拘留等强制措施。

卖电脑起家
曾经荣登《福布斯》慈善家榜
据此前媒体报道,1964年,杨宗义出生于江苏南京,并在南京大学化学系毕业后,曾进入机关工作过一段时间。
而1992年在飞机上和一个新加坡老板的偶遇,改变了他的人生轨迹。
他流利的英语和有见地的管理理念得到了对方赏识,最终成了这家企业在南京的代理商。
南京珠江路是华东有名的电子、电脑产品集散地,而负责推销显示器的杨宗义就在这条路上当了3年的显示器配送员,杨宗义曾回忆说:“我几乎见过这条街上所有电脑公司的老板。”
三年的浸染,杨宗义看出电脑的利润空间大,散客又非常看重售后。于是,1995年底,杨宗义自己单干了,福中电脑公司诞生。
同时,杨宗义提出了“3+3服务理念”,也就是零部件前3年包换,后3年包修。在当时,一般电脑公司对于兼容机的承诺最多只有一年,同行因此都觉得杨宗义疯了,并在暗地里骂他“抢生意没下限,不要脸”。
不过这招险棋,杨宗义走对了。福中电脑依靠优质的售后在市场上迅速打下了知名度。不久后走出南京,相继在全国20多个省市开设200多家“3+3”加盟店,成为中国电脑前五强。
2003年,杨宗义开始了多元化,从商业地产到医疗企业,从工业园区到文化传播,福中集团的资产雪球也越滚越大,一路挤进南京百强企业的前五。
杨宗义则成为了南京市国际商会副会长、江苏省工商联常委,还获得了一个相当高大上的名头:“对民族产业贡献卓著的民营功勋企业家”,2012年曾被评为“年度信誉人物”。

生意上顺风顺水的杨宗义在公益慈善事业方面十分慷慨。
2003年4月,“非典”暴发,南京还未出现非典疑似病例时福中集团就捐资117万元为玄武区抗击“非典”的医护人员每人投了20万元的高额保险,成为南京市第一个为抗击“非典”捐款的企业。
杨宗义也因此在2004、2005年年连续两年登上福布斯中国慈善榜,2005年还获得了民政部颁发的“首届中国慈善大奖”。
据不完全统计,杨宗义这些年的累计捐款也超过了2个亿,2019年的福布斯中国慈善榜上,杨宗义还以2000万的捐赠额排名第90位。


玩资本运作“爆雷”
还被鹿晗告了
“2003年前,我没有跟银行贷过一分钱,公司多元化后,接触资本的机会多,才慢慢领悟到资本经营的妙处。做企业,产品是最低层次,品牌是较高层次,资本运作才是最高层次。”杨宗义曾经这样对采访他的媒体说。
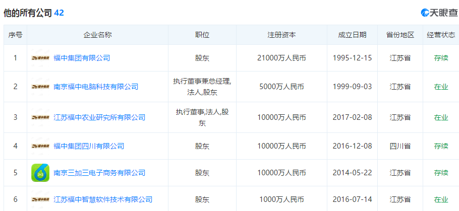
天眼查显示,杨宗义目前名下共有42家公司,且多与“福中”有关,并涉及酒水、电子商务、房地产、医疗科技、物流运输、国际贸易、水产以及文化传媒等诸多领域。

热衷于资本运作的杨宗义却“玩脱”了,年度信誉人物成了老赖。
爆雷的福信公司是2014年2月17日在南京正式注册成立,注册资金为人民币1亿元。根据公司介绍,福信公司是福中集团有限公司下设的全资子公司。

不到5年的时间,福信公司就无法兑付了。2018年年中,网络上就传出福中集团欠薪;到了2019年年初,又有网友爆出投资人在福信公司的投资无法兑付。
目前,警方并未透露福信公司非法集资的涉案金额。
2020年8月,福信财富还被鹿晗告上法庭。

声明:证券时报力求信息真实、准确,文章提及内容仅供参考,不构成实质性投资建议,据此操作风险自担。
证券时报APP
微信公众号