.png)

“我可能在有生之年再造一个丰田,还有什么事比这个更刺激的?” 5年前,李想抱着对未来的憧憬,离开了汽车之家,如今他离自己的目标又近了一步。
北京时间7月11日凌晨,理想汽车正式向美国证券交易委员会(SEC)提交招股书,拟在纳斯达克上市,股票代码“LI”,拟募资最多1亿美元。如果一切顺利,理想汽车有望成为继2018年蔚来10亿美元IPO之后,第二家在美上市的中国电动汽车初创企业。

拟最高融资1亿美元
理想申请纳斯达克上市
北京时间7月11日凌晨,国内新造车公司理想汽车正式向美国证券交易委员会(SEC)递交了IPO文件。理想汽车计划在纳斯达克上市,股票代码为“LI.”,将发行A类及B类股票,拟最高融资1亿美元(约合人民币7亿元)。

图片来源:理想汽车IPO文件
股权分布方面,IPO文件显示,当前理想汽车创始人兼首席执行官李想为最大的自然人股东,股权占比25.1%,拥有70.3%的投票权。王兴是理想汽车的第二大股东,持股23.5%,拥有9.3%的投票权。理想汽车联合创始人、总裁沈亚楠持股1.1%,拥有0.4%的投票权;联合创始人、首席财务官李铁持股1%,拥有0.4%的投票权。其他主要股东还有Amp Lee Ltd、紫金环球(Zijin Global Inc.)、Rainbow Six Limited、Inspired Elite Investment Limited。
营收方面,IPO文件显示,从2018年至2020年的第一季度,理想汽车一直处于净亏损状态。2018年,理想汽车净亏损人民币15.32亿元;2019年,理想汽车的运营收入为2.84亿元,净亏损24.38亿元;2020年第一季度,运营收入8.51亿元,净亏损是7711万元。换句话说,从2018年至2020年第一季度,理想汽车一共亏损了约40.47亿元人民币。
但另一方面,首款车型理想ONE的成功交付正在帮助该公司实现运营收入和毛利润增长。从2019年11月开始交付至今,理想ONE已交付超过1.04万台。而从在2018年,理想汽车的汽车销售额只有2.8亿元,到了2020年第一季度销售额已经大幅增长至8.4亿元。

图片来源:理想汽车IPO文件
除此之外,毛利润方面,2019年,理想汽车亏损人民币9.5万元。但2020年前三个月,毛利润已经扭亏为正,为6828.8万元。这仍然主要得益于汽车销量的增长。截止到2020年3月31日,理想汽车的现金及现金等价物还有人民币10.54亿元。
据外媒消息,高盛、摩根士丹利、瑞银投资银行(UBS Investment Bank)、中金公司担任此次发行的联席主承销商;老虎证券和雪盈证券担任副承销商。公司发行的股票分为A类股和B类股两种,A类股每股对应1票表决权,B类股对应10票表决权,A类股无法转换为B类股,B类股可转换为A类股。
在招股书中,理想汽车透露,计划在2022年推出一款全尺寸SUV,将会搭载新一代的增程系统,为了满足更多消费者的需求,将来还会推出中型、紧凑型SUV。
理想汽车成立于2015年7月,前身为车和家,由汽车之家创始人李想创办,2019年6月更名为理想汽车,于2019年11月开始量产首款车理想ONE。
IPO前8轮融资
各路资本押宝理想汽车
其实,理想汽车眼前似乎并不缺钱。
IPO前,理想已进行了8轮融资,利欧股份、经纬中国、明势资本、王兴、美团等均参与其中。

值得注意的是,A股上市公司利欧股份也是理想汽车的股东之一。早在2016年4月,利欧股份通过出资3.5亿元,与理想汽车的前身车和家签署投资协议,从而持有其11.75%的股份,布局智能电动汽车领域。2017年利欧股份再度增资1亿元。根据利欧股份2019年底的公告,其持有理想汽车5.1696%的股份。
上月底,又有消息称理想将获得5.5亿美元的D轮融资,由美团领投、理想创始人李想跟投剩余5000万美元里的3000万。在新一轮融资后,理想的估值预计将达到40.5亿美元。不过,理想汽车方面表示,对IPO和D轮新融资的相关消息均不予置评。
2019年8月,理想汽车获得5.3亿美元C轮融资时,美团创始人王兴就个人出资2.85亿美元,美团旗下的龙珠资本则出资1500万美元。
IPO前11位股东集体出质股权
其实,理想汽车上市之路也并非一帆风顺。
今年1月,路透社曾报道称理想汽车已去年12月秘密申请美国IPO,最快上半年完成上市,募资规模至少为5亿美元。但不久后,“瑞幸咖啡造假”事件爆发,这为国内企业赴美上市增添了不确定因素,或许受此影响,理想汽车CEO李想在微博愤怒评价陆正耀为“诈骗犯”。

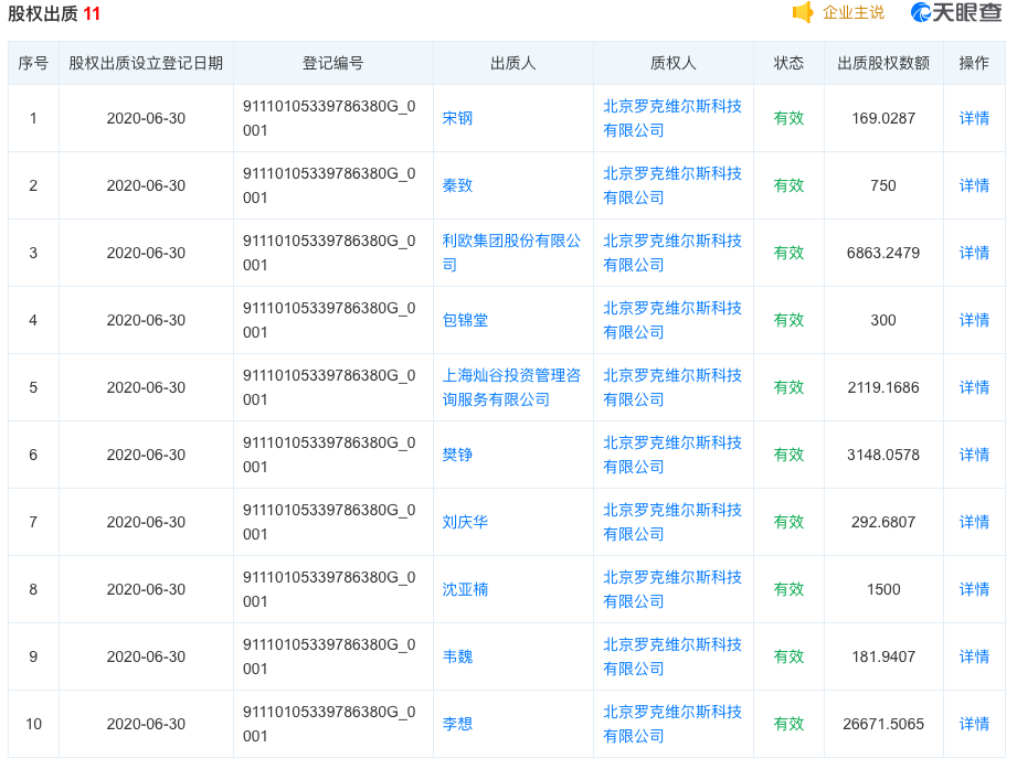
此外,在赴美上市前夕,理想汽车突然出现股东集体出质股权的情况。天眼查显示,6月30日,理想汽车的运营主体北京车和家信息技术有限公司新增11条股权出质信息,11位股东全部出质股权,质权人为北京罗克维尔斯科技有限公司。对此,理想汽车官方表示:“不予置评”。

图片来源:天眼查
据天眼查显示,作为质权人的北京罗克维尔斯科技有限公司成立于2017年12月,注册资本10亿元,法定代表人为理想汽车大股东李想,该公司由Leading Ideal HK Limited全资控股。
一边,理想汽车不断进行资本的腾挪周转;另一边,企业还在马不停蹄的扩张。
近日,理想汽车CE0李想表示,理想汽车计划在今年加快扩张速度,预计将在全国增设60家门店,以扩宽销售渠道。他表示,此举是为了拿到更好的供应商资源、用户资源以及媒体、渠道资源。按照规划,今年第三季度,理想汽车零售中心的覆盖城市将提升到30个城市以上,同时其售后服务网络也将在三季度内覆盖到除港澳台以外的所有省份,他们计划在年底前将渠道拓展至100个城市。

图片来源:理想汽车CEO李想微博截图
今年事故频发
理想汽车遭市场质疑
近半年来,理想汽车接二连三发生事故,也让人们对于其质量产生质疑。
据《财经》此前报道,5月8日,湖南长沙路面上,一辆理想ONE发生自燃,整个车身前部烧焦。事故发生后一个小时,理想汽车官方发出公告:针对这辆理想ONE前机舱冒烟的情况,经过现场检测,车辆电池系统没有出现问题。

5月7日,有理想车主发文称自己的车在高速上突然遭遇刹车失灵的现象,最后依靠动力回收产生的制动把车停下。对此,理想官方则回应:故障已解决,刹车系统不存在安全问题。
4月23日,一位理想ONE的车主在网上表示,自己购车一个月内发生了2次碰撞,原因是倒车雷达和倒车影像出现BUG,维修中心的师傅认为是车机软件的问题,但重启之后问题依然没有消失。
尽管理想汽车的产品品质依然有待观察,但却不乏拥趸。
美团CEO王兴曾多次为理想汽车站台,称“理想ONE的一大好处就在于你不需要额外花24万买车位装充电桩也一样能获得很好的纯电驾驶体验。”
另外,罗永浩也称,理想汽车“除了解决不了某些人很在意的面子问题,没能像特斯拉那样提供超跑般的推背感,理想ONE是能在这个价位买到的全世界最好的车。”
销量飘红不代表盈利能力?
专家:放慢烧钱是当务之急
根据中汽协的统计数据,中国新能源中大型SUV2020年1-5月销量TOP10榜单中,理想汽车以7775辆理想ONE的销量位列第一;雷克萨斯位于第二,销量为2619辆;特斯拉Model X以1451辆的销量位居第三。
自2019年12月正式开始交付以来,理想汽车用六个半月的时间完成了第一个10000辆的交付,创下了中外造车新势力全新车型的最快交付10000辆的纪录。

不过对于理想汽车上市,有业内人士认为,持续亏损的中国电动汽车初创企业面临着越来越艰难的融资环境,它们正在一个拥挤的赛道上争夺终端销售和新资本。除此之外,面临未来电动车补贴的退坡,理想还需就盈利能力给出让投资人信服的理由。也有业内人士表示,从融资规模等角度看,目前中国国内企业去美国上市并不是很好的选择。
事实上,理想汽车的CEO李想也认识到节约成本,放慢烧钱速度的重要性。7月5日,李想就在其个人社交账户上表示,理想汽车超过3200人的团队,只有两个VP,连高级总监都寥寥无几。行政要求出差经济舱都必须买折扣最低的,经济酒店都要两个同性在一起住。这么难的行业,必须训练一个从18层地狱为起点往上爬的创业企业,熬出地面才能有更强的竞争力。选择和时间做朋友。
另外,目前对于中国造车新势力来说,销量飘红也并不代表盈利能力。已经在美上市的蔚来汽车7月2日公布了2020年6月交付数据。数据显示,2020年6月蔚来共交付3740辆,同比增长179.1%。然而,据蔚来财报显示,2019年全年归属上市公司股东净利润为-112.957亿元,2020年一季度实现净利润为-16.92亿元,整体毛利率为-12.2%。
机构观点:
新能源汽车未来市值增长空间巨大
理想是中国新能源汽车市场的创新者,也是设计,开发,制造和销售高级智能电动车的一体化公司,是第一个在中国成功商业化增程式电动汽车的公司。截至2020年6月30日,理想已交付10,400多辆理想ONE。此外,根据各家产能规划,预计2020年,理想汽车产能将达到10万辆。理想将重点放在价格在人民币150,000元至500,000元之间的SUV领域。
在2019年,新能源汽车的销量仅占乘用车总销量的5.0%,显示出巨大的未来增长潜力。工信部于2019年12月发布的新能源汽车产业发展计划(2021-2035)设定了中国的目标销售量。到2025年,新能源汽车的销量将占汽车总销量的25%。
根据CIC报告,从2020年到2024年,新能源汽车的销量预计将继续以34.5%的复合年增长率增长。

业内人士认为,一轮新冠疫情之后,新能源汽车行业经历大洗牌,诸如特斯拉、蔚来这样的行业龙头产销量逆势增长,小众品牌则被迅速淘汰,两极分化使得龙头企业愈发受益,“马太效应”愈发显著。不过,新能源汽车行业的竞争远没有结束,国外老牌车企、国内自主品牌,乃至跨界巨头都已经先后加入了战局。特斯拉、蔚来在新能源汽车行业竞争中有先发优势,且已经形成一定的市场口碑。短期内,市值可能会因冲的过高而有所回调,但锚定中国市场,产销继续增长,那么未来的市值增长空间也将是巨大。
国汽车工业协会秘书长助理兼技术部部长王耀表示,疫情对整个汽车产业造成了巨大的冲击,新能源汽车这个领域显然比燃油车面临着更大压力,根据去年掌握的数据显示,部分新能源车企每销售一辆新能源汽车,大约要亏损2000元~2万元不等。由于目前新能源汽车整体规模较小,导致企业研发成本无法摊销,即便是拿到了国家补贴和地方补贴,盈利也非常有限。新能源汽车板块内活跃着大量新造车企业,这些公司入局造车的时间并不久,本身抗风险能力就比较弱,而疫情的来临导致新能源汽车整体销量下滑,也给这部分企业带来了一定财务风险。在王耀看来,无论是传统车企还是新造车企业,在此时都需要对新能源汽车行业的商业模式进行重新探索,以降低成本,让新能源车型更加普及。
光大证券指出,6月特斯拉市值超越丰田,宁德时代和三花智控再创历史新高,新能源汽车行业再迎市场热度。数据方面,随着疫情影响减弱,5月产业上中下游数据环比改善。政策方面,多地出台了推动新能源汽车产业发展政策,下一阶段“双积分”政策落地,三项电动汽车强标发布。
三次创业、两家上市公司
李想创造车时代神话
1981年的李想,出生在书香门第,父母都毕业于中央戏曲学院,父亲在一个剧团当导演,母亲在一所学校当老师。按照一般家庭的规划,李想大概会被名校录取,之后进入大企业工作。但年少就痴迷电脑的李想有他自己的理想:互联网创业。
1999年,正值互联网在中国的第一波爆发浪潮,还在读高三的李想看到了人生中第一次机会,他设计了一个小而美的网页,专门分析显卡,并取名为“显卡之家”,靠网站的广告收入,李想每月能赚到8000元左右,那时候他父母的工资也就2000元左右。
两年后,“显卡之家”更名为“泡泡网”。2005年,泡泡网的收入已经近2000万,利润也有差不多1000万,按照估值来算,李想的身价已经过亿。
放弃高考直接创业,让李想幸运地赶上了70后互联网创业者的狂欢,挖到了第一桶金,那时的李想才刚刚24岁。

2004年下半年,李想想从IT行业出圈,决定做自己最喜欢的汽车网站。他们把网站的名字定为“汽车之家”,意为“一群汽车爱好者的家园”。
2009年,汽车之家的日访问量突破了5000万,遥遥领先其他互联网媒体,已经成为汽车类门户网站中无法撼动的老大。
2010年,汽车之家推出APP端。作为最早布局移动互联网的网络公司之一,时至今日,汽车之家的移动端日活用户数在3500万左右,甩开了同行好几条街都不止。
2013年12月11日,汽车之家在登陆纽交所,上市成功。李想个人身价也达到了1.52亿美元。

但是爱折腾的李想还有一个最大的理想:做一家千亿美金的公司。
2015年6月,李想宣布离开汽车之家,再次开启创业之路,同年7月,创办了车和家。2019年6月,车和家改名为理想汽车。
五年后的今天,理想汽车递交了赴美IPO的招股书,即将成为李想的第二家上市公司。
综合IPO招股书、券商研报、路透社、雪球、《财经》等
声明:证券时报力求信息真实、准确,文章提及内容仅供参考,不构成实质性投资建议,据此操作风险自担。
证券时报APP
微信公众号