.png)

5月9日,上海信托在上海联合产权交易所挂牌转让上投摩根公司49%股权。
这让首家外资独资的基金公司浮出水面,这也意味着公募基金行业此类公司将实现“零突破”。
实际上,4月1日就有贝莱德、路博迈已经向中国监管机构提交了设立公募基金公司的申请。此外,还有不少合资基金公司中外方股东在寻求控股权等。随着这些海外资管巨头的涌入,意味着未来将有更多外资独资或者外资控股基金公司出炉,给国内基金行业带来更多新变化。
上投摩根49%股权挂牌
上投摩根股权又现变化。
据上海联合产权交易所的产权预披露公告显示,5月9日,上海国际信托有限公司挂牌转让上投摩根基金管理有限公司49%的股权,截止日为2020年6月4日。这一则公告也受到市场关注,点击明显高于其他转让信息。

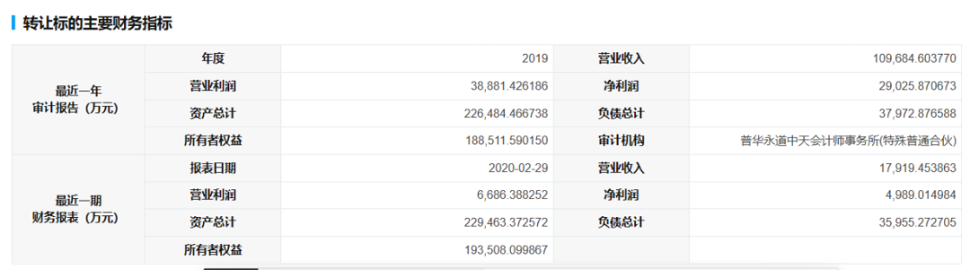
从具体信息来看,成立于2004年的上投摩根注册资本为2.5亿元,目前公司股权结构为:上海信托出资占比51%,摩根大通旗下摩根资产管理出资占比49%。
转让信息还明确显示公司的财务情况:

从上述表格可以看出来,上投摩根的盈利情况不错,2020年前两个月获得净利润差不多5000万。而2019年也有2.9亿元的净利润。
不过,这一预披露信息中并没有显示受让方资格条件,需要以正式披露信息为准。
实际上,摩根大旗下的摩根资管一直在寻求获得上投摩根更多股权。在2019年8月6日,摩根大通宣布,旗下的摩根资管已成功竞拍上投摩根基金2%股权。这也成为基金业首家被外资绝对控股的公募基金公司。不过,目前还在等待中国相关监管部门的审批。
其实在在4月份摩根资管宣布与上海信托初步达成商业共识,将拟收购取得上投摩根基金公司股权至100%。而5月份就出现这一产品交易信息,一旦此次摩根资管也获得了剩下的49%的股权,上投摩根就成为行业内首家外资独资的基金公司。
外资机构积极申请设立公募基金
中国资本市场加速对外开放,2017年11月10日,财政部宣布,国内基金公司控股权外资持股比例放宽至51%,三年之后投资比例不受限制;2019年7月20日,国务院金融稳定发展委员会办公室宣布进一步扩大金融对外开放的11条措施,其中,基金管理公司放开外资股比限制的时点提前到2020年4月1日。
在政策的支持下,外资机构似乎更愿意寻求独资基金公司模式。除了上投摩根这类通过股权收购模式之外,还有外资机构通过直接申请设立新的基金公司之路。
证监会网站显示,4月1日,贝莱德及路博迈两家外资资管机构正式递交公募基金设立申请。

具体来看,贝莱德是全球资管规模排名第一的巨头,其董事长兼首席执行官(CEO)劳伦斯·芬克(Larry Fink)曾在致股东信中,再次重申中国将是贝莱德最大的机遇之一。
值得一提的是,贝莱德为发力国内公募市场,在人事上也早有布局,去年9月,贝莱德正式任命汤晓东为中国区主管,负责管理发展和执行其在中国的长期业务战略。而汤晓东在国内基金公司及监管部门均有丰富的从业经验,2009年,汤晓东从华尔街回国后,曾担任证监会基金部副巡视员,期间参与过QFII政策的调整,以及基金业放松管制的改革。而后,汤晓东历任华夏基金总经理及广发证券副总经理,广发控股香港董事、总经理。
另一大资管巨头路博迈也位列外资申请公募牌照的第一梯队。路博迈是一家国际老牌资产管理公司,公司创始人之一、被称为美国共同基金之父的Roy Neuberger 在1939年与Robert Berman 联合创立了路博迈(Neuberger Berman)。2003年,路博迈被雷曼兄弟收购。2008年雷曼兄弟破产后,路博迈员工发起股份收购,成为一家独立的公司,并延续至今。截至2019年12月31日,路博迈管理了包括1,061亿美元股票资产,1,604亿美元固定收益资产和892亿美元另类管理资产。
路博迈投资(上海)的CEO刘颂此前也是国内公募基金公司的高管,他曾先后在中国香港及内地的景顺(Invesco)和景顺长城(Invesco Great Wall)任职,2012年底担任德意志资产管理大中华区主管。加盟路博迈之前,刘颂为海富通基金管理有限公司总经理。
随着多家外资机构正式递交申请,公募基金业也进入内外资机构同台竞技的新时代。
还有众多外资在行动
其实谋求基金公司控股权或者独资的外资股东并不在少数。
如全球最大公募基金公司——先锋领航集团(Vanguard)曾表态,更希望通过独资形式进入中国公募市场。一旦法规放开,会做一家扎根中国本土的公募基金公司。
还有富达国际(Fidelity International)首席执行官黎诚恩(Anne Richards)在接受第一财经采访时明确表示,富达国际对中国市场的长期承诺并不会受疫情影响,“我们希望能在中国发行公募基金,并且我们一直都在积极准备申请牌照。”
去年年中,证监会核准深圳市招融投资控股有限公司将其持有的摩根士丹利华鑫基金股权转让给摩根士丹利国际控股公司,转让及认购完成后,摩根士丹利持股合资基金公司44%股权,晋升第一大股东。目前,大摩华鑫新一轮股权变更申请正在走证监会流程。

此前,瑞银集团在控股合资券商之后,也曾对外表态,国投瑞银基金管理有限公司是中国第一家外方持股比例达到49%最高上限的合资基金管理公司,未来会根据新的政策寻求跟中方合资方做增持股比的调整。
wind数据显示,目前国内128家基金公司中,合资基金公司共有44家,除了恒生前海基金通过CEPA新政框架实现外资控股之外,还有包括鹏华、景顺长城、泰达宏利等14家基金公司外资持股比重达到49%,距离绝对控股仅1步之遥,未来这些基金公司中,也有可能诞生外资控股基金公司。

外资控股基金给行业带来新变化
外资独资后,公募生态将会发生什么变化?
就曾有一位基金公司总经理表示,其实自基金行业发展历程来看,基金公司发起人正向多元化发展。从历史沿革看,2003之前只能由证券公司发起设立基金公司,而自2013年新基金法实施开始,银行、保险、信托等机构,包括自然人都可以设立公募基金公司。多元化股东进入良性地改善了公募基金公司发起人的资源、能力禀赋,基金公司间的差异化定位和发展也逐渐显现。
其实研究美国资产管理行业就会发现,美国资产管理公司的发展非常多元化,有专门做被动型指数的先锋,有专门做主动管理的美洲集团,有专门做债券的太平洋投资管理公司等。业务多元化意味着产品更精致、业务更专业、资产价格定得更合理。
目前国内已经有保险、创投公司、个人、产业资金作为股东方设立的基金公司,每一类不同股东方的基金公司都有天然适合发展某些业务的“土壤”。例如,券商系可能更适合做股票、债券、货币主动管理类业务,银行系基金公司则更适合发展指数基金、固定收益,信托系、创投系、产业资本系等公司更适合专注另类投资,而保险系公司则更适合低风险投资等。基金行业差异化发展路径的出现,对整个行业来说是可喜的变化。
另一位业内人士表示,长期来看,国外资管机构积累了更丰富的专业经验、投资策略及管理优势,将给基金业带来示范效应,有利于促进基金公司的优胜劣汰。外资控股或者独资基金的到来会产生示范效应,有助于中国的基金市场回归主业。
北京某公募基金营销策划部总监认为,外资控股基金若要实现突围,首要选择的会是具有外资优势的特色产品或是选择工具性策略。特色产品可结合外资擅长的FOF、EPS研究优势等进行开展。在工具性策略上,一些具有杰出投研能力的华尔街量化公司,引用量化的模式和策略后进行大量复制,可以快速抢占市场。另外,为抢占市场,外资控股基金可能会在国内打价格战。在海外,包括富达、安联、摩根大通等外资机构降低费率已成趋势。而与本土基金公司参与子公司或是通道业务等不同,外资控股基金会更专注于资管主业。
不过, 深圳一大型公募研究部总监认为,外资是否控股并非左右业绩的因素,外资控股在国内基金业高度红海环境中,外资控股基金仍然存在多方挑战。国内外机构所使用的研究方法与资产定价手段大同小异,真正懂中国市场的基金公司才有优势。无论谁控股,不优秀的企业仍然会被淘汰。
声明:证券时报力求信息真实、准确,文章提及内容仅供参考,不构成实质性投资建议,据此操作风险自担。
证券时报APP
微信公众号